Home » Retaining Ring » DK Retaining Clips
DK Retaining Clips
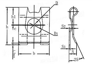
DK Retaining Clips, U type Retainer Clips made of spring steel 65Mn, size D4-D16 from China retaining Clips Manufacturer.
![]() |
![]() |
DK Retaining Clips specification as below:
| Size | D4 | D5 | D6 | D8 | D10 | D12 | D14 | D16 |
| d min | 3.93 | 4.93 | 5.93 | 7.91 | 9.91 | 11.89 | 13.89 | 15.89 |
| d3 | 11.6 | 15 | - | - | - | 36 | - | 46.5 |
| h1 | 8.5 | 10.7 | 14.1 | 17.5 | 22.1 | 26 | 30 | 34 |
| h2 | 4 | 5 | 6 | 8 | 10 | 12 | 13.5 | 16 |
| b1 | 7 | 9 | 11 | 14 | 18 | 22 | 25 | 28 |
| a | 2.2 | 3.2 | 3.6 | 4 | 5 | 5 | 6 | 6 |
| s | 0.3 | 0.4 | 0.4 | 0.5 | 0.5 | 0.5 | 0.6 | 0.6 |
| z | 0.5 | 0.5 | 1 | 1 | 1 | 1.25 | 1.5 | 1.5 |
| d2 | 3.2 | 4 | 5 | 6 | 8 | 9 | 10 | 12 |
| m | 0.64 | 0.74 | 0.94 | 0.94 | 1.05 | 1.15 | 1.25 | 1.35 |
| n | 2 | 2.5 | 3 | 3.5 | 4.5 | 5 | 5.5 | 6 |
Related: D1460 Heavy Duty Retaining Ring


